木結構古建筑現場無損檢測技術
一、材料性能檢測
材料力學性能現場檢測測區或取樣位置應布置在構件無缺陷、無損傷且具有代表性的 部位,當構件存在缺陷、損傷或性能劣化現象時,檢測報告應予以描述。
1.1 木材物理性能檢測
1.1.1 木材含水率
每個樣品距兩端 200mm 處及中部設置測試部位,對于規格材或其他木構件,每個測 試部位的四個面中部測量;對于膠合木構件,應在構件兩側測定每層層板的含水率。
設備:FMC木材水分儀

1.1.2 木材密度
測量方法:微鉆阻力儀檢測法
選擇木構件無缺陷的良好部位。對承重彎曲載荷的構件,宜選擇產生拉應力最大部位 或其中間部位下表面;對承受軸向載荷的構件,宜選擇沿高度方向的不同部位。每個構件應 至少鉆取 3 個測點,3 個測點不應位于同一橫截面,沿構件木材橫紋方向鉆入,并垂直于構 件表面。
采用阻力儀檢測法檢測木材密度時,宜采用現場取樣試驗進行修正

圓形截面 矩形截面
圖一 典型截面阻力儀檢測示意
ρ9 = 3.8536FX + 354.9
式中:Fx—含水率 x% 時的微鉆阻力值(示值); ρ9—含水率 9% 時的木材密度(kg/m3)

1.2 木材力學性能檢測
1.2.1 木材抗彎強度和抗彎彈性模量
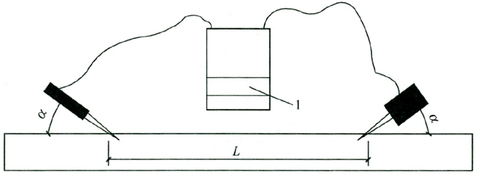
木材受橫向靜力載荷作用時所產生的最大彎曲應力為木材抗彎強度。木材受力彎曲時, 在比例極限內應力與應變之比,則為抗彎彈性模量。現場檢測木材抗彎強度、抗彎彈性模量 可采用阻力儀和應力波檢測法(木結構現場檢測技術標準 JGJ/T488). 測量方法: 1)微鉆阻力檢測法; 微鉆阻力檢測法檢測木構件力學性能時,每個構件應至少鉆取 3 個測點,取三者平均 值作為試件的阻力值,3 個測點不應位于同一橫截面(圖一)。 2)應力波檢測法 應力波測量儀的兩個探針應沿被測木構件長度方向插入其表層,記錄兩探針插入點間 距,兩探針間距宜為 600mm,探針與試件長度方向夾角應為 30°—45°(圖二)。

圖二 構件縱向應力波檢測示意
1—應力波檢測儀;α—探針與試件長度方向夾角;L—測點距離
落葉松力學性能檢測按下列公式計算:
V9 = 0.858Vx + 0.014MCxv + 0.536
F9 = 0.655Fx + 0.125MCxv + 26.733
ρ9 = 3.8536Fx + 354.9
σb9=0.0298F9V92+35.4
E9 = 0.0041 F9V92 + 5.353
式中:V9—含水率9%時的應力波速度(km/s);
F9—含水率9%時的微鉆阻力值(示值);
ρ9—含水率9%時的密度(kg/m3);
Vx—含水率x%時的應力波速度(km/s);
Fx—含水率x%時的微鉆阻力值(示值);
Ex—含水率9%時的抗彎彈性模量(Gpa);
σb9—含水率9%時的抗彎強度(MPa);
MCxv—含水率x%,適用含水率范圍6%-16%
二、缺陷檢測
木構件缺陷檢測應分為裂縫、腐朽、蟲蛀等項目。木構件缺陷等級按下表規定執行。

2.1 裂縫檢測
2.1.1 表面裂縫。
表面裂縫寬度直接采用塞尺或直尺測量。
2.1.2 內部裂縫。
內部或隱蔽裂縫寬度宜采用阻力儀檢測法。
2.2 腐朽檢測
2.2.1 表面腐朽。
表面腐朽通過目測法判斷,采用肉眼觀察或尺規測量。
2.2.2 內部腐朽。
內部腐朽采用探針檢測法、阻力儀檢測法、應力波檢測法、雷達波等非破壞性檢測方法。
探針檢測法:
用于表層0-40mm范圍內的木材內部腐朽檢測,同一木構件在腐朽和未腐朽部分分別進行探針檢測,且檢測方向應相同。腐朽程度檢測分級按下表執行。

探針打入深度增加率按如下公式計算:(精確到0.1%)
Rp = (L1-L0)/L0* 100%
式中:Rp——探針打入深度增加率(%);
L0——未腐朽部位的探針打入深度(mm);
L1——腐朽部位的探針打入深度(mm).
探針檢測法——PILODYN皮羅釘木材檢測儀
用來測量活樹及木質構件,如電線桿、打樁和木梁等的木材強度及腐朽狀況的有用工具。檢測使用無損的方法,不會對測量對象造成大的破壞。
阻力儀檢測法:
可用于0-500mm或0-1000mm范圍內的深層腐朽檢測,腐朽程度分級按下表規定執行:

根據腐朽部位的阻力平均值和未腐朽部位阻力平均值計算阻力值降低率。阻力值降低率按下式計算,精確到0.1%:
Rr= (r0-r1)/r0* 100%
式中:Rr——阻力值降低率(%);
r 0——未腐朽部位阻力平均值;
r 1——腐朽部位阻力平均值。
阻力值曲線判別木材缺陷的參考方法:
| 區段分類 | 典型阻力值曲線 | 典型曲線特征分析 |
| 無缺陷區 | ![]() | 曲線總體較為平穩、均勻并呈現連續的波峰-波谷現象,通常,波峰處木材密度較大,波谷處木材密度相對較小 |
| 腐朽蟲蛀區 | ![]() | 曲線中相對阻力值明顯下降,但過渡期坡度較緩。相對阻力值下降越多說明該區段木材腐朽越嚴重 |
| 裂縫或空洞區 | ![]() | 曲線中相對阻力值發生突降,曲線坡度非常陡,且相對阻力值接近于零,說明該區段為裂縫或空洞 |

應力波檢測法:
用于構件全截面腐朽檢測,木構件腐朽面積精確測量宜采用應力波斷層成像與阻力儀結合的檢測方法。
應力波檢測方法:選擇待測斷面,記錄斷面詳細尺寸、形狀及位置。傳感器均勻布置,相鄰傳感器間隔不應大于100mm,木構件直徑或寬度不小于300mm時,傳感器數量不宜少于10個。

圖三 典型截面阻力儀檢測示意
傳感器布置完成后,逐個敲擊傳感器振動銷,每個傳感器敲擊次數不少于5次。
主要木構件應在構件中部或勘察發現缺陷的周邊位置進行延伸檢測,有明顯缺陷的區域,應在該區域增加檢測次數,確定缺陷范圍。
當采用應力波斷層檢測儀獲取木構件斷面的彩色圖像時,圖像的顏色直觀顯示木構件的健康狀況,圖像的顏色分布由波速值大小決定。藍色—紫色—綠色—棕色—黑色表示波速由低值逐漸增大至高值。

圖四 應力波掃描結果
應力波和阻力儀結合檢測法:
應力波和阻力儀結合使用,對斷面缺陷面積大小進行偏差修正。
使用應力波對斷面檢測成像后,使用阻力儀在木構件斷面進行單路徑缺陷長度修正,按照以下公式進行:

式中:Ai——應力波檢測的缺陷面積(mm2);
Ar——阻力儀修正的缺陷面積(mm2);
Lr1——單路徑(第1條路徑)上阻力儀檢測缺陷長度(mm);
Lr2——單路徑(第2條路徑)上阻力儀檢測缺陷長度(mm);
Li1——第1條路徑上對應的應力波檢測缺陷長度(mm);
Li2——第2條路徑上對應的應力波檢測缺陷長度(mm);
三、蟲蛀檢測
蟲蛀檢測包含兩部分內容:
一是檢測構件內部是否存在蟲蛀孔,如果僅有蟲蛀孔洞,而沒有白蟻活動跡象,則蟲蛀空洞實際上是缺陷的一種形式,對木構件及結構的影響主要體現在截面面積的缺損,參考缺陷檢測方法。
二是尋找木構件中是否存在白蟻活體并確定其活動區域,如果存在白蟻活體活動跡象,則有可能對構件及建筑主體結構造成不可估量的危害,必須進行全面檢測和治理,可通過溫度、濕度、雷達等多種形式進行白蟻活體探測。
白蟻檢測
T3i白蟻探測儀可快速探測、確認和追蹤白蟻的存在及活動軌跡。T3i白蟻探測儀整合白蟻雷達傳感器、遠程激光熱度傳感器和濕度傳感器于一體,通過三種測量功能對白蟻進行探測、追蹤和定位。

四、檢測儀器方案
4.1 微鉆阻力技術


在電動機驅動下,儀器的微型鉆針以恒定速度鉆入木構件內部,產生相對阻力,阻力的大小反應出木質密度的變化,已有很多實驗證實木質密度和微鉆阻力之間有顯著的統計學上線性關系,微鉆阻力越大,則密度越大,表示木構件結構完整,否則,木質有損傷;微機系統采集鉆針在木質中產生的阻力參數,在軟件上將數據可視化顯示。微型鉆針直徑1.5mm,長度從300mm 至1000mm 不等,適合各種尺寸構件。
PD 系列針測儀采用兩種阻力記錄模式測量,有效避免測量高密度樹種時的誤差。高密度木構件可能即使內部木質受損,其殘存的木質仍具有較大的步進阻力,但其旋轉阻力會減小。可對木質內部的裂縫、腐朽、蟲蛀進行判斷。
R 系列針測儀通過探針鉆入木材記錄旋轉阻抗,通過藍牙打印機 1:1 實時顯示測量 結果,測量過程中根據木材狀態自動調整鉆頭速度,無需人工干預,提高木質裂縫、腐 朽、蟲蛀檢測的效率和準確性。
4.2 應力波無損檢測技術

無損檢測因蟲害或者自然衰退導致木構件木質腐爛情況,測量時將傳感器固定在預檢測的斷層上,使用專業設計的電子錘敲擊每個檢測點,應力波在木構件內部傳播,如果構件內部的介質不同,應力波傳播的速度就不同,比如在實木中傳播快,受損木質或空洞中傳播慢,進而可以判斷木構件內部的健康狀況,檢測結果可視化顯示。



斷面上每個位置的應力波傳播速度都有數據,結合上文中的公式,獲取木構件的密度(kg/m3)、抗彎強度(Gpa)、抗彎彈性模量(Mpa)等參數;結果以不同顏色表示木構件的缺陷情況,如裂縫、腐朽。
五、案例分享
5.1“平湖秋月”御書樓檢測
檢測方法:
1)Resistograph 微鉆阻力儀檢測
2)picus 3應力波斷層畫像診斷儀檢測
檢測小組利用微鉆阻力儀對木構件的腐朽、蟲蛀等缺陷進行檢測,
涉及到柱、梁等構件。檢測時一根直徑約1.5mm的鉆針進入木構件內部。


檢測小組利用Picus 3應力波樹木斷層畫像診斷儀檢測樓內其他柱,根據應力波的傳播速度以及含水率,計算出柱子構件的彈性模量以及力學性能,對建筑內木構件的質量做出評判。
御書樓內該柱自應力波速在3768-4522之間,計算出柱子構件的平均彈性模量為6385.
5.2 故宮立柱缺陷檢測

檢測人員使用PD 500針測儀分別在不同高度處
對立柱構件內做缺陷檢測,
獲取肉眼無法看到的內部,彌補認為判斷的缺陷;
如下為檢測結果,圖中紅色區域阻力值很小,木柱內存在缺陷。

先進的木質無損檢測技術用于古建筑木構件檢測,彌補人為判斷的缺陷,對于材料內部隱蔽部位可以通過數據科學的判斷,并且通過數據、圖表較好的反應被測物體內部的強度變化,腐朽、蟲蛀等殘損情況。科學對木材保存現狀進行評估,為后期修繕工作提供重要的基礎性數據支撐和評判依據。


六、古建筑木構件無損檢測技術的現狀和發展趨勢




